08:44 Двуполярное питание из обыкновенного | |
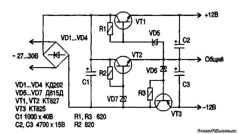
Схема принципиальная Двуполярное питание из обыкновенногоПри конструировании различных усилителей мощности ЗЧ радиолюбители довольно часто сталкиваются с проблемой отсутствия двуполярного источника питания. Схема, изобиженная на рис.1, позволяет получить из обыкновенного питания двуполярное, кроме того, она сама по себе является стабилизатором. На вход можно подавать напряжение как переменное, так и постоянное, в последнем случае диоды VD1-VD4 можно исключить, но при этом при подключении придется соблюдать полярность.
Поделись с друзьями в социальных сетях Реклама Похожие материалы: | |
|
| |
| Всего комментариев: 0 | |
Дорогие друзья!
Если у Вас есть желание поделится своими разработками, присылайте их мне на почту
Материал должен состоять из названия, схемы, описания с указанием имени автора, прошивки (если есть) и фото внешнего вида разработанного устройства.
Интересные разработки поощряются материально!
Здравствуй Гость, как Вы видите еще никто не оставил свой комментарий, будьте первым, поделитесь мнением о материале выше.


