18:29 Регулятор яркости в торшере | |
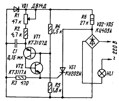
Схема принципиальная Регулятор яркости в торшереПринципиальная схема
регулятора показана на рис. 117. Ключевой его элемент - тиристор VS1,
фаза включения которого в каждом полупериоде зависит от постоянной
времени цепи (R1+R2)C1. ![]()
Поделись с друзьями в социальных сетях Реклама Похожие материалы: | |
|
| |
| Всего комментариев: 0 | |
Дорогие друзья!
Если у Вас есть желание поделится своими разработками, присылайте их мне на почту
Материал должен состоять из названия, схемы, описания с указанием имени автора, прошивки (если есть) и фото внешнего вида разработанного устройства.
Интересные разработки поощряются материально!
Здравствуй Гость, как Вы видите еще никто не оставил свой комментарий, будьте первым, поделитесь мнением о материале выше.

